Модификации и обозначения
Ротационная навесная косилка «КРН-2.1А» – это обозначение базовой модели, работающей от тракторного вала отбора мощности на 540…560 оборотов в минуту. В модели «КРН-2.1Б» применены шкивы, одинаковые по диаметру, и этот вариант косилки может использоваться с валом отбора мощности со скоростью 1000 оборотов в минуту.

Если же в наименовании косилки обозначена буква «Д», то это значит: «дорожная». «Дорожный» вариант может использоваться на крутых склонах, с уклоном до 40 градусов. Это делает косилку удобной для окашивания обочин, кюветов, склонов дамб и прочих земляных сооружений.
Технические характеристики
Технические характеристики роторной ротационной косилки КРН-2.1:
| Характеристики | Показатели | Ед. измерения |
| Тип устройства | навесное | |
| Тип тягового трактора | ЛТЗ-55, МТЗ-82, МТЗ-80 | |
| Тяговой класс | 0,9 или 1,4 | |
| Скорость вращения хвостикова ВОМ | 540 | об/мин |
| Захват | 2,1 | м |
| Высота среза (минимум) | 4 | см |
| Высота среза (установочная) | 6-8 | см |
| Число роторов | 4 | шт. |
| Производительность | 11700-29000 | м2/ч |
| Рабочая скорость (максимум) | 15 | км/час |
| Транспортная скорость (максимум) | 30 | км/ч |
| Колея | 1,4-1,5 | м |
| Просвет (минимум) | 0,28 | м |
| Вес (общий) | 0,535 | т |
| Высота (транспортная, с МТЗ-80) | 2,67 | м |
| Высота (рабочая) | 1,38 | м |
| Ширина (транспортная, с МТЗ-80) | 2,35 | м |
| Ширина (рабочая) | 2,09 | м |
| Длина (рабочая) | 3,55 | м |
| Длина (транспортная, с МТЗ-80) | 4,91 | м |
На видео роторная косилка КРН-2.1:
Тяга транспортная
Тяга транспортная (см. рисунок 17) предназначена для фиксации бруса режущего в транспортном положении при движении трактора или при хранении косилки.



Рисунок 17 – Тяга транспортная:
1 – штанга; 2 – фиксатор; 3 – ушко; 4 – палец; 5 – контргайка.
Она состоит из штанги 1, на левом конце которой ввернут фиксатор 2 с правой резьбой, а на правом ввернуто ушко 3 с левой резьбой.
Тяга транспортная крепится на оси подрамника. Наличие на раме резьб противоположного направления позволяет при вращении штанги регулировать длину тяги.
В рабочем положении косилки палец 4 вставляется в отверстие фиксатора 2. В транспортном – в отверстие на брусе режущего ротационного (см. рисунки 2 и 7).
Механизм уравновешивания и подъема
Механизм предназначен для ограничения давления бруса режущего на почву и для перевода косилки в транспортное положение. Механизм (см. рисунки 6 и 7) состоит из гидроцилиндра 1, соединенного с кронштейном 2 и рамой навески 3.

Рисунок 6 – Механизм уравновешивания и подъема с гидроцилиндром ЦГ – 80.50х400.22:
1 – гидроцилиндр; 2 – кронштейн; 3 – рама навески; 4 – пружина; 5,6 – натяжные болты; 7 – стойка; 8 – сапун; 9 – клапан замедлительный; 10 – стяжка; 11 – шплинт пружинный
Брус режущий соединен с рамой навески 3 двумя пружинами 4. Натяжной болт 5 позволяет регулировать давление башмака на конце бруса режущего на почву. Натяжной болт 6 позволяет регулировать давление на почву лыжи, расположенной в начале бруса режущего.
Соединение всех звеньев механизма уравновешивания на осях обеспечивает свободный поворот бруса режущего в цапфах подрамника в процессе работы косилки, обеспечивая тем самым равномерный срез растений над почвой.
В транспортном положении косилки звенья механизма уравновешивания фиксируются стойкой 7 (см. рисунок 6) и стяжкой 10, скрепленных шплинтом пружинным 11 и транспортной тягой, связывающей подрамник 13 с брусом режущим 14 (см. рисунок 7). Стойка 7 снабжена двумя овальными пазами. В транспортном положении косилки оба паза должны быть расположены внутри стяжки 10.

Рисунок 7 – Механизм уравновешивания и подъема с гидроцилиндром ЦГ– 50.30х320.22:
1 – гидроцилиндр; 2 – палец; 3 – рама навески; 4 – пружина; 5,6 – натяжные болты; 7 – стойка; 8 – сапун; 9 – клапан замедлительный; 10 – стяжка; 11 – шплинт пружинный; 12 – фиксатор; 13 – подрамник; 14 – брус режущий ротационный
Критерии выбора

При выборе навесной роторной косилки следует определиться с тем, какие культуры предполагается скашивать, на какие трактора они будут устанавливаться и какой рельеф, и размер обрабатываемых площадей.
В том случае если предполагается скашивать толстостебельные жесткие культуры, то мощность оборудования должна быть больше чем у косилок, используемых для срезания мягких трав.
Для тракторов могут подходить самые различные модели роторных косилок, но оптимальнее использовать оборудование того же производителя, что и силовой агрегат, или рекомендованное для использования вместе с ним.
Также большое влияние на выбор косилки оказывает доступность в продаже запчастей к оборудованию и, конечно же, его цена.
Навешивание косилки на трактор
- Подать трактор задним ходом к косилке и опустить навесное устройство в крайнее нижнее положение (485±25 мм) так, чтобы шарниры на задних концах продольных тяг встали против осей рамы навески.
- Рукоятку распределителей гидромеханизма поставить в «плавающее» положение.
- Трактористу сойти с трактора, соединить сначала одну, а затем другую продольные тяги навесного устройства трактора с осями навески косилки и закрепить их чеками.
- Соединить центральную тягу навесного устройства трактора с рамой косилки посредством штыря и чеки, имеющихся на этой тяге.
- Установить шарнир карданной передачи косилки на ВОМ трактора и закрепить его болтом, гайкой и шплинтом, которые перед установкой предварительно должны быть сняты с вилки шарнира. Для обеспечения нормальной работы карданной передачи необходимо телескопический вал соединить так, чтобы ушки концевых вилок были расположены в одной плоскости. Для установки защитного кожуха необходимо вывернуть два верхних болта М8 крышки подшипника ВОМа и установить на эти отверстия кронштейн защитного кожуха карданного вала и закрепить его болтами М8 ГОСТ 7795 с подкладными шайбами НЖ 015-03-8х24х2 из комплекта трактора. Другой конец кожуха следует соединить с лапками корпуса подшипника ведущего шкива и закрепить его болтами М12 ГОСТ 7796.
- Сблокировать продольные тяги навесной системы прилагаемыми к трактору специальными устройствами (цепи, планки, блокировочные тяги и др.) для предотвращения поперечных перемещений.
- Поднять косилку гидромеханизмом так, чтобы режущий аппарат не касался земли, и, регулируя длину раскосов трактора, выровнять ее так, чтобы ось рамы навески располагалась вертикально (см. рисунок 4, поз.3). Регулировкой блокировочных устройств устранить боковое смещение рамы косилки относительно продольной оси трактора. Затем раскосы и блокировочные устройства законтрить имеющимися на тракторах специальными гайками или другими деталями в зависимости от вида трактора. С помощью натяжного устройства механизма уравновешивания отрегулировать усилие пружин таким образом, чтобы брус режущий расположился горизонтально.
- Поднять стойку (см. рисунок 16) до отказа вверх, переставив пружинный шплинт в нижнее отверстие одной рукой, поддерживая при этом стойку другой рукой.
- Опустить косилку до соприкосновения лыжи и башмаков режущего аппарата с землей, что должно соответствовать расположению осей навески косилки на высоте 485 мм от земли, т.е. ее рабочей высоте, при этом произвести дополнительную регулировку натяжного устройства механизма уравновешивания таким образом, чтобы давление лыжи и башмака на конце бруса на почву было оптимальным.

Навешивание косилки на трактор
Правила работы с косилкой «КРН-2.1»
Чтобы обеспечить долгую и справную службу косилки и избежать несчастные случаи, важно выполнять следующие правила:
Для приработки трущихся поверхностей нужно произвести обкатку новой косилки: в течение 1-2 часов на пониженных оборотах вхолостую
Далее – обкатку при полном числе оборотов ВОМ трактора следует производить также в течение 1-2 часов
После каждой из этих процедур необходимо, выключив ВОМ трактора, сделать проверку болтовых соединений, натяжение клиновых ремней, нагрев подшипниковых узлов.
После первого часа работы новой косилки необходимо также проверить затяжку всех болтов и гаек динамометрическим ключом, обращая особое внимание на закрепление роторов, скашивающих ножей и защитных кожухов.
При скашивании травы, когда косилка находится в рабочем положении, важно не превышать установленной производителем максимальной скорости трактора: 15 км/ч. И то – это только на ровных делянках
Там, где рельеф местности неровный, следует дополнительно замедлить движение трактора.
Передачу, на которой осуществлять движение во время работы роторов, нужно подбирать самостоятельно
Ориентироваться нужно на обороты двигателя: они должны держаться в ходе движения на уровне 1500-2000 об/мин.
После окончания сенокоса (примерно через месяц интенсивной работы косилки), нужно сделать её техническое обслуживание: более тщательно очистить от пыли, грязи, растительных остатков все составные части косилки; проверить надёжность крепления роторов режущего аппарата; проверить и при необходимости отрегулировать натяжение клиновых ремней; проверить остроту режущих кромок рабочих ножей роторов; проверить уровень смазки и при необходимости добавить смазку: в секцию конического редуктора, в секцию режущего бруса, в подшипники ротора), в шлицевой вал карданной передачи; проверить состояние пружин уравновешивающего механизма.
Строго соблюдать правила техники безопасности: перед каждым пуском проверять надёжность крепления ножей; не заменять ножи без предварительного стопорения ротора через отверстия в кольцевой части ротора; никогда не осматривать или устранять поломки косилки с НЕвыключенным валом отбора мощности трактора; переезды на значительные расстояния выполнять только с поднятой в транспортное положение и надёжно зафиксированной косилкой; перед снятием косилки с рычагов навесного устройства трактора не забывать устанавливать фиксирующий штырь в отверстие телескопического стопорного устройства.
Щиток
Укладывание скошенной массы осуществляется с помощью щитка (см. рисунок 9). Основной деталью его является: щиток 5, закрепленный с помощью болта на кронштейне 1.
Щиток 5 установлен под углом к направлению движения агрегата. Скошенная масса, ударившись о щиток, меняет траекторию движения и укладывается на некотором расстоянии от не скошенной.
Пружина, удерживающая щиток в рабочем положении, дает ему возможность отклоняться назад в момент перегрузок и снова возвращаться в исходное положение.

Рисунок 9 – Щиток:
1 – кронштейн; 2 – шайба; 3 – болт натяжной; 4 – пружина; 5 – щиток.
Технологический процесс работы
Срезание стеблей осуществляется с помощью пластинчатых ножей, шарнирно закрепленных на попарно вращающихся навстречу друг другу роторах. Ножи срезают траву по принципу бесподпорного среза, подхватывают ее и выносят из зоны резания, перемещая над режущим брусом. Траектории движения ножей соседних роторов перекрываются, благодаря чему обеспечивается качественный покос (см. рисунок 3).
Щиток, меняя траекторию движения скошенной травы, укладывает ее в валок, освобождая место для прохождения колес трактора при последующем проезде.

Рисунок 3 – Схема работы косилки
Сравнение производителей
ВИРАКС (80-100 тыс):
- ВИРАКС ременная (у нас шестеренчатая). Ширина скоса 1,8 м. (у нас 2,1)
- Это как сравнивать ручную мясорубку и электрическую. Если вам нужен фарш 3 раза в год, то ручной хватит. А если надо в сложнейших условиях, в 3 смены и много, то долго такая косилка не выдержит.
- ВИРАКС при этом стоит около 80-100 тыс. Это огромное преимущество. Многие говорят, что лучше купить 3 Виракса, чем одну нашу. Пояснение, как в пункте 2. Три Виракса брать не надо – берите 1, так как она рассчитана на щадящую работу. По проверенным полям без камней, пеньков и кустов.
- Наша – это косилка другого класса. Без перечисленных ограничений.

Бобруйск КДН-210 (200 тыс):
Бобруйскую косилку часто хвалят, но…
У нее половинчатый режущий брус. Стоит один раз более-менее сильно стукнуться и брус поведет. В брусе появится щель, из нее начнет сочиться масло. Если это вовремя не заметить, то масло постепенно выльется, шестерни обсохнут, перегреются и их заклинит. Всё! Косилку на свалку.
Даже если вовремя заметить течь масла, то все равно это уже навсегда
Надо будет герметизировать и постоянно следить.
Также многие обращают внимание на тонкую сталь в бобруйской косилке.
Хвалят в этой косилке, что удобно выполнена возможность замены шестерен. Вроде это преимущество, но мы не понимаем для чего их менять.

Стриж и Белоне (Италия) – 300-340 тыс.
- Эти косилки можно назвать одинаковыми. Разница только в том, что в Стриже брус от Белоне, а редуктор отечественный.
- Обе косилки очень хорошие. Итальянская дороже. Служат хорошо. Гарантия 24 месяца. Но есть несколько минусов.
- Косилки весят всего 400 кг. Конечно, они позиционируют это, как облегченная версия и экономия на топливе, но наша косилка почти на 200 кг. тяжелее. Да, в этом есть минус, но плюсов значительно больше. Это уверенность в прочности и надежности. Лучше потратить на несколько литров больше солярки, чем переломить косилку.
- У них не совершенный механизм откидывания. После столкновения с препятствием срезается штифт. Для продолжения работы необходимо вставить новый штифт. У нас автоматическое защелкивание при движении задним ходом и выходить из трактора не надо.
- Большой недостаток в этих косилках связан с шестернями. Если косилка сталкивается с препятствием, то ротор, с которым прошло столкновение останавливается. Это происходит за счет того, что вал шестерни срезается в специальном ослабленном месте. Для восстановления работоспособности необходимо купить новый вал и выполнить замену.

Узнайте все преимущества, отзывы и стоимость доставки косилки по телефону (8362)42-14-38 – Светлана (на фото выше), 8(8362)68-39-06 (Павел) или на сайте mmz.bitrix24.site.
Также Вы можете заказать обратный звонок,
Возможные неисправности косилки и методы их устранения
Возможные неисправности косилки КРН-2,1А и методы их устранения изложены в таблице:
Неисправность, внешнее ее проявление | Методы устранения. Необходимые регулировки и испытания | Применяемый инструмент и принадлежности | Приме- |
1.При кошении наблюдается непрокашивание, возможно наматывание травы на стаканы под роторами вследствие недостаточного натяжения клиновых ремней. | Отрегулируйте натяжение ремней в соответствии с требованиями п.Регулирование клиноременной передачи, а в случае чрезмерной натяжки ремней замените их. | Ключ | S~24 |
2.При кошении наблюдается сдирание дерна, накапливание его спереди режущего бруса, также наматывание растительной массы на режущем аппарате. | Отрегулируйте давление режущего аппарата на почву в соответствии с требованиями п. Регулирование механизма уравновешивания режущего аппарата. | Ключ, динамометр | S~24 |
3.Возник резкий металлический стук вследствие того, что при наезде на инородное тело скашивающий нож отогнулся вниз и задевает за режущий брус. | Быстро выключите ВОМ трактора, остановите косилку и замените нож. | Ключ, бородок, пассатижи | S=22 |
4. Наблюдается течь смазки из картера режущего бруса, особенно при установке его в вертикальное положение из-за того что: | |||
а) ослаблено крепление днища бруса к панели. | Затяните болты | Ключ | S=17 |
5. Чрезмерный нагрев конического редуктора вследствие того, что: | |||
а) в полости редуктора имеется недостаточное количество смазки. | Проверьте уровень смазки через верхнюю крышку. Добавьте смазку. | Ключ | S=10 |
б) нарушена регулировка конического зацепа. | Отрегулируйте зацепление конической пары в соответствии с требованиями п.Регулирование конического зацепления редуктора режущего аппарата. | Ключ | S~17 |
6.Чрезмерный нагрев бруса режущего аппарата. Температура нагрева превышает температуру окружающей среды более чем на 40 | Термометр электрический полупроводниковый ЭТП-М | ||
а) недостаточное количество смазки в полости бруса | Добавьте смазку. | Отвертка | S=4,0 |
б) смазка в брусе не соответствует рекомендуемой “Техническим описанием и инструкцией по эксплуатации косилки”. | Пользуйтесь смазкой рекомендуемой “Техническим описанием и инструкцией по эксплуатации косилки” | Отвертка | S=4,0 |
7. Чрезмерный нагрев одного из роторов вследствие наматывания травы на стакан под ротором | Снимите ротор и очистите стакан | Ключ специальный с рукояткой. | |
8. При отключении ВОМ трактора роторы резко останавливаются, из-за того, что не срабатывает обгонная муфта. | Разберите муфту и, выяснив причину ее отказа, устраните дефект | Ключи Пассатижи | S~14 |
9.При столкновении косилки с препятствием тяговый предохранитель не срабатывает вследствие того, что пружина тягового предохранителя сильно затянута. | Отрегулируйте натяжение пружины в соответствии с требованиями п.Регулирование тягового предохранителя. | Ключ, динамометр | S~19 |
10. Установка режущего аппарата в положение дальнего транспорта затруднена из-за того, что отверстие в транспортной тяге не совпадает со штырем кронштейна. | Отрегулируйте длину наконечника тяги в соответствии с требованиями п.Регулирование транспортной | Ключ | S=30 |
Технические характеристики в цифрах
- Максимальные габаритные размеры в рабочем положении: длина – 3,55 м, ширина – 2,085 м, высота – 1,38 м.
- Максимальные габаритные размеры в транспортном положении: длина – 4,91 м, ширина – 2,35 м, высота – 2,65 м.
- Ширина колеи трактора: от 1,4 до 1,5 м.
- Дорожный просвет – 280 мм.
- Число оборотов роторов – 1980…2060 об/мин.
- Число оборотов ВОМ трактора – 540…560 об/мин.
- Ширина захвата конструктивная – 2,1 м.
- Расчётная производительность – 2,85 га в час.
- Масса косилки – 510 кг.
- Скорость движения трактора в рабочем состоянии – не более 15 км/ч.
- Скорость движения трактора в транспортном состоянии – не более 30 км/ч.
- Высота среза: на естественных травах – 6 (+/-2) см; на сеяных травах – 8 (+/-2) см.
- Срок службы, по паспорту – не менее 5-ти лет.
Регулирование механизмов косилки
Регулирование конического зацепления редуктора бруса режущего

Регулирование производится с помощью регулировочных прокладок 2, а также регулировочными прокладками 16. Гарантированный боковой зазор в зацеплении должен быть не менее 0,2 и не более 0,44 мм.
Регулирование клиноременной передачи
Натяжение клиновых ремней осуществляется с помощью натяжного болта 1.

Натяжение клиновых ремней осуществляется с помощью натяжного болта 1.
Натяжное устройство своей осью 7 устанавливается в кронштейнах 8, а сухарь 9 – в кронштейнах 4 подрамника.

Подрамник
Гайками 5 затяните пружину 2 до зазора между витками пружины 0,3 – 1 мм. Вторичное подтягивание гаек производите, когда зазор между витками увеличится более 1 мм. Соприкосновение витков пружины друг с другом не допускается.
Ведущий и ведомый шкивы должны находиться в одной плоскости. Это достигается путем установки регулировочных колец 17 между крышкой 4 и ведомым шкивом 12.

Примечание: Регулировка клиноременной передачи должна осуществляться при условии подбора всех ремней одинаковой длины.
Регулировка тягового предохранителя
Регулировка тягового предохранителя производится с помощью гаек 9.

Тяговый предохранитель должен срабатывать при усилии не менее 300 кг, приложенном в середине бруса режущего, что примерно соответствует зазору 4 мм между витками натяжной пружины. Уменьшение этого зазора менее 3 мм недопустимо.
Регулировка механизма уравновешивания бруса режущего

Регулировка производится натяжными болтами 5 и 6. Давление лыжи и башмаков на почву должно отвечать оптимальным условиям скольжения по ней бруса режущего при кошении.
При отклонении положения любой из осей навески трактора от номинального (485 мм) регулировка механизма уравновешивания нарушается.
Установка бруса режущего относительно почвы
Брус режущий должен находиться в горизонтальной плоскости и опираться на почву имеющимися у него лыжей и башмаками. Это достигается путем изменения длины верхней тяги трактора и натяжением пружин механизма уравновешивания.
При необходимости допускается наклон режущего аппарата вперед по ходу движения, но не более, чем на 3 градуса.
Регулировка положения ведомого шкива относительно ведущего
Положение ведомого шкива обеспечить подбором колец 17, установленных между крышкой 4 и шкивом 12.

Размер А не должен превышать 3 мм по всей торцевой поверхности ведущего шкива.

1 – ведущий шкив, 2 – ведомый шкив, 3 – линейка
При регулировке пользоваться ровной линейкой (кругом, шестигранником, уголком и т.д.), прикладывая к торцу ведущего шкива. Длина линейки должна несколько превышать размер В.
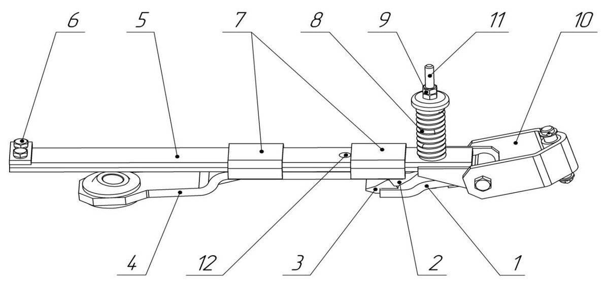
Предохранитель тяговый
Предохранитель тяговый (см. рисунок 15) предназначен для предупреждения поломок косилки в момент столкновения режущего бруса с препятствиями. Он состоит из прижима 1, платформы 4, направляющей планки 5.

Рисунок 15 – Предохранитель тяговый:
1 – прижим; 2, 3 – фиксатор; 4 – платформа; 5 – направляющая планка; 6 – упор; 7 – хомут; 8 – пружина; 9 – гайки; 10 – скоба; 11 – винт; 12 – отверстие.
На платформе 4 приварены клиновой фиксатор 2 и два хомута 7, в которых перемещается направляющая планка 5. Перемещение планки 5 ограничивается упором 6.
Прижим 1 представляет собой пластину с клиновым фиксатором 3, который соединен с направляющей планкой 5 винтом 11 с пружиной 8 и контрящими гайками 9.

Прижим 1 необходим для регулировки усилия срабатывания фиксаторов 2, 3. Срабатывание предохранителя тягового происходит при наезде бруса режущего косилки на препятствие, в результате чего фиксаторы 2, 3 выходят из зацепления друг с другом, длина предохранителя тягового увеличивается, брус режущий разворачивается, при этом угол разворота ограничивается упором.
Возвращение бруса режущего в исходное положение производится трактористом из кабины: трактор подается назад до поворота бруса режущего в исходное положение и защелкивания клиновых фиксаторов. На случай выхода из строя клиновых фиксаторов в предохранителе имеются отверстия 12, в которые можно установить фиксирующий элемент (например, болт с гайкой).
Описание и устройство
Навесная косилка «КРН-2.1» относится к роторному виду косилок. Предназначена для работы по скашиванию высокоурожайных и полеглых трав, с укладкой скошенной кормомассы в валки. Может применяться в любых климатических зонах. Агрегатируется «КРН-2.1» с тракторами тягового класса от 0,9 («Т-40») до 1,4 (МТЗ-80…82), оснащённых задним ВОМом на 540..560 об/мин. (модификация «КРН-2.1Б» работает с ВОМ на 1000 оборотов в минуту). Тип косилки: навесная, правосторонняя, с нижним приводом.
Косилка «КРН-2.1» состоит из рамы навески, подрамника, механизма уравновешивания, режущего аппарата, полевого делителя, тягового предохранителя, механизмов стойки и гидрооборудования.

Главная рама представляет собой сварную конструкцию с осями, для крепления её к нижним тягам навесного устройства трактора. На правой стороне имеется ось для крепления тягового предохранителя, который после установки фиксируется штырём и шплинтом. К раме шарнирно присоединена подвеска, в нижней части которой имеется кронштейн для крепления подрамника через ось, фиксируемую гайкой и шплинтом. К подвеске также крепится цепь для крепления транспортной тяги.
Подрамник представляет собой сварную рамную конструкцию и является связующим звеном между рамой навески и режущим аппаратом. Основу конструкции составляет короб, на котором имеется труба с втулками для присоединения подрамника к подвеске; кронштейн для присоединения транспортной тяги и телескопического стопорного устройства; кронштейн для крепления тягового предохранителя; кронштейн и накладка для крепления кожуха ременной передачи; кронштейн для установки стойки; кронштейн с сухариком для крепления привода. В передней части имеются ушки для присоединения механизма подъёма, а также кронштейн и накладка для установки коробки привода.

1-тяговый предохранитель; 2-стойка; 3-подрамник; 4-цапфа; 5-основа с рабочими узлами;6-пластинчатые ножи; 7-роторные диски; 8-полевой делитель;9-защитное ограждение; 10-крепление для рамы с рабочими узлами; 11-подвеска; 12-ось; 13-рама навески.
Механизм уравновешивания выполняет функции ограничения давления режущего аппарата на почву, обеспечения копирования режущим аппаратом неровностей поля и перевода косилки в транспортное положение. Пружины уравновешивают часть веса подрамника и режущего аппарата, и обеспечивают необходимое давление его башмаков на почву.
В качестве рабочих органов косилки выступают четыре ротора с двумя скашивающими ножами. Каждый из них оснащён пластинчатыми ножами, закреплёнными шарнирно. В движение роторы приводятся через вал отбора мощности трактора, кардан, клиноременную передачу, редуктор, шестерни роторов и обгонную муфту. В транспортное положение из рабочего и наоборот косилка приводится посредством гидравлической системы трактора. Пружины подвески позволяют достаточно точно копировать рельеф участка сенокоса, обеспечивая равномерный срез трав по всей площади делянки.
Устройство
Косилка навешивается на трактор через сварную раму с подвеской, закрепленную на нижних тягах. Приводится в действие от ВОМ, через роторные шестерни, редуктор, обгонную муфту, клиноременной узел и карданную передачу. Возможность поворачиваться на опорах позволяет копировать рельеф. Башмаки режущего механизма упираются в грунт.

Косилка состоит из следующих узлов и деталей:
- Тяговый предохранитель.
- Стойка.
- Подрамник.
- Цапфа.
- Основной брус режущего аппарата.
- Роторы с ножами.
- Полевой делитель.
- Кронштейн режущего аппарата с ограждением.
- Подвеска.
- Рама навески с осью.
Встретив на своем пути препятствие, косилка разворачивается. Предохранитель, позволяющий сделать это, состоит из пружины с клиновым фиксатором и двух тяг.
Восемь ножей закреплены на четырех роторах. На средних ножи подлиннее, на крайних – покороче. Они режут траву и отбрасывают ее, а полевой делитель не позволяет стеблям разлетаться во все стороны, укладывая их ровным слоем.
Техническое обслуживание косилки КРН-2,1
1. Виды и периодичность технического обслуживания
Техническое обслуживание включает в себя:
ежемесячное техническое обслуживание (ЕТО) – через 8-10 часов, продолжительностью 20-30 минут;
техническое обслуживание (ТО-1) – через 20 часов, продолжительностью 0,65 часа;
техническое обслуживание (ТО-2) – через 60 часов, продолжительностью 1…1,5 часа;
сезонное техническое обслуживание (ТО-С) – через 20 часов, продолжительностью 5,85 часа.
2. Перечень работ, выполняемых по каждому виду обслуживания
Перечень работ, выполняемых по каждому виду технического обслуживания, приведен в таблице:
Содержание работ и методика их проведения | Технические требования | Трудо- емкость, чел.-ч | Приборы, инструменты, приспособления, материалы для выполнения работ | Приме- чание |
Ежемесячное техническое обслуживание (ЕТО) | ||||
1.Очистите от пыли, грязи и растительных остатков составные части косилки | 0,05 | Щетка, ветошь | ||
2.Проверьте надежность крепления роторов режущего аппарата специальными гайками со стопорными шайбами, затяжку болтов крепления ножей и нижней крышки основного бруса | 0,15 | Бородок, ключи | D=2.0 | |
3.Проверьте и при необходимости отрегулируйте натяжение клиновых ремней | 0,10 | Ключ | d=24 | |
4. Следите за остротой режущих кромок ножей роторов | 0,05 | |||
5. Проверьте уровень смазки и при необходимости добавьте смазку: | ||||
в секцию конического редуктора | Уровень смазки должен быть на уровне нижней шестерни | 0,10 | Ключи | S=10 |
в секцию режущего бруса | При переводе режущего аппарата в транспортное положение уровень смазки должен доходить до заливной пробки | 0,05 | Отвертка | S~4.0 |
Техническое обслуживание (ТО-1) | ||||
1.Выполните все операции ежесменного технического обслуживания | 0,05 | Инструменты и материалы ЕТО | ||
2.Добавьте смазку в подшипники ротора | 0,15 | Шприц смазочный | ||
Техническое обслуживание (ТО-2) | ||||
1.Выполните все операции ежесменного технического обслуживания | 0,5 | |||
2.Проверьте и при необходимости отрегулируйте пружины уравновешивающего механизма режущего аппарата в соответствии с разделомРегулирование механизма уравновешивания режущего аппарата. | 0,17 | Ключи, динамометр | S=24 | |
3.Проверьте и при необходимости отрегулируйте боковой зазор конической пары редуктора в соответствии с разделом Регулирование конического зацепления редуктора режущего аппарата. | 0,30 | Ключи | S~30 | |
4.Проверьте и при необходимости отрегулируйте клиноременную передачу в соответствии с разделом Регулирование клиноременной передачи. | 0,10 | Ключи | S~24 | |
5.Проверьте работу обгонной муфты | 0,10 | |||
6.Добавьте смазку в цапфы конического редуктора и шлицевой вал карданной передачи. | 0,10 | Шприц смазочный | ||
Сезонное техническое обслуживание (ТО-С) | ||||
1.Очистите косилку от грязи и остатков растений | 0,05 | Щетка, ветошь | ||
2.Произведите осмотр технического состояния косилки | 0,15 | |||
3.Установите пригодность деталей к дальнейшей эксплуатации | 0,15 | |||
4.Устраните обнаруженные неисправности | 0,5 | ЗИП | ||
5.Выполните все операции по подготовке косилки к длительному хранению в соответствии с разделом и действующими правилами хранения тракторов, автомобилей и с/х машин в сельском хозяйстве | 5,0 |
3. Смазка косилки
Перед началом работы косилки тщательно смажьте все трущиеся части. При смазке в первый раз предварительно очистите от краски и других загрязнений отверстия масленок.
Брус режущий ротационный (см. рисунок 8).
Корпус бруса режущего представляет собой цельносварной брус. К основанию бруса приварены четыре башмака 16 и прикрепляется лыжа 20. Брус режущий может свободно поворачиваться в цапфах 4 (см. рисунок 1).


Рисунок 8 – Брус режущий ротационный:
1 – брус; 2 – шестерня; 3 – вал; 4 – колесо; 5 – шестерня; 6 – шестерня; 7 – шестерня; 8 – подшипник; 9 – втулка; 10 – подшипник; 11 – вал; 12 – ротор; 13 – нож; 14 – пробка; 15 – шестерня; 16 – башмак; 17 – колпачок.
Вдоль бруса в верхней его части установлены роторы 12, закрепленные на валах 11, установленных в корпусе бруса с помощью подшипников 10. На противоположном конце вала на двух шпонках закреплены шестерни 7, соединенные с основной распределительной шестерней 2 посредством промежуточной шестерни 6. На втулках 9 через подшипники 8 установлены промежуточные шестерни 6 и 15 таким образом, чтобы обеспечить вращение роторов 12 попарно (первый и второй; третий и четвертый) навстречу друг другу (см. рисунок 3).



Сверху каждый ротор 12 закрыт колпачком 17, обеспечивающим защиту ротора от забивания комьями земли и остатков скошенных растений.
Вращение шестерням 7 на каждом роторе передается от ВОМ трактора через карданную и клиноременную передачи, конические зубчатые колеса 4 и 5, вал 3 и основную распределительную шестерню 2 и промежуточные 6 и 15.





































