Технические характеристики гусеничного крана дэк-251
Основным стреловым оборудованием является невыдвижная решетчатая стрела. Кран оснащается стрелой 14 м, которая в зависимости от условий эксплуатации может быть удлинена до 19; 22,75; 24; 27,75 и 32,75 м за счет вставок. Каждая из стрел может оборудоваться неподвижным гуськом длиной 5 м, к которому подвешивается крюк вспомогательного подъема. Грузоподъемность на стрелах с гуськом меньше, чем без гуська, на 0,5 — 1 т. На кране предусмотрено башенно-стреловое оборудование — башня длиной 22,5 или 27,5 м и маневровые гуськи длиной 10; 15 или 20 м.Техническая характеристика крана ДЭК-251 при работе со сменным стреловым оборудованием
Основные грузозахватные органы — крановые подвески грузоподъемностью 25 и 5 т. В качестве сменного грузозахватного органа на стреле 14 м можно использовать грейфер вместимостью 2,5 м3. На кране применяют канаты конструкции 6х19х1 диаметром 21 мм. Длина грузового каната основного подъема — 210 м, вспомогательного подъема — 165 м; стрелового каната — 85 м.
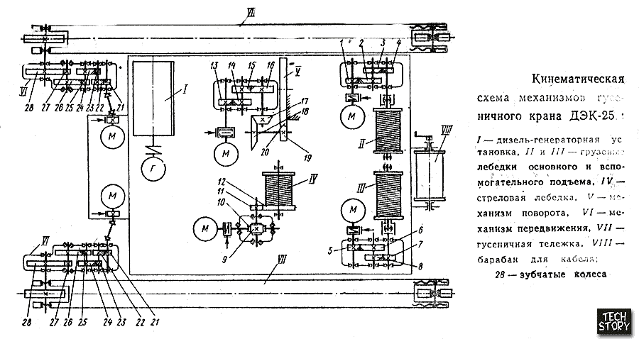
Исполнительные механизмы расположены на поворотной платформе. Главная и вспомагательная лебедки унифицированы. Движение барабану передается через редуктор типа РМ-500. При основной стреле грузовой канат навивается на оба барабана; при удлиненных стрелах на один барабан навивается канат основного подъема, а на другой — канат вспомогательного подъема. На механизм поворота движение от электродвигателя передается через редуктор РЦД-350. Барабан стреловой лебедки получает вращение от двухступенчатой передачи, состоящей из редуктора Ч-160 с самотормозящейся червячной передачей и открытой цилиндрической передачей. Механизм передвижения состоит из двух четырехступенчатых цилиндрических редукторов, движение к каждому подается от своего электродвигателя. Все рабочие операции на кране — подъем и опускание груза, вращение поворотной части, подъем и опускание стрелы, передвижение — осуществляются соответствующими механизмами с индивидуальными электроприводами, допускающими совмещение операций.
Особенности устройства и эксплуатации
ДЭК 631 оснащен последними изобретениями инженеров Челябинского механического завода. Техника спроектирована с соблюдением передовых стандартов и норм. Модель представляет собой самоходный гусеничный полноповоротный дизель-электрический кран с башенно-стреловым оборудованием и гуськами различной длины. Так, в качестве основой стрелы выступает 18-метровая выдвигаемая секция, которую можно дополнить решетчатыми вставками длиной 6 и 12 м. В результате общая длина может достигать 42 метров. Кроме того, дополнительным элементом для удлинения стрелы служит маневровой гусек с высотой в пределах 15 – 27 метров. Опционально кран может быть оснащен оголовком стрелы и жестким 5-метровым гуськом
Элементы конструкции крановой установки ДЭК 631:
- Опорная секция. Включает в себя платформенную ходовую часть, две параллельные гусеничные телеги и трансферный механизм
 - Роликовый механизм
 - Поворотная платформа
 - Электротехнические элементы и оборудование, в том числе дизель-генератор мощностью 75-100 Вт. В качестве альтернативы ему предусмотрена способность работать от внешнего источника питания с напряжением 380 Вт.
 - Кроме того, к крану можно подключить дизель-молот, гидромолот, грейфер, копровую мачту, электромагнит и буровое оборудование
 - Стреловой механизм с насадками-удлинителями и тросами
 
Целесообразность использования в строительных отраслях, где требуется перемещение крупноблочных конструкций, а также погрузочно-разгрузочные работы. Это стало возможно счет прочной выдвигаемой стрелы, которая передвигает груз на любые расстояния и на большую высоту, в пределах допустимой рабочей зоны
Встроенная система безопасности ОГМ 240-30, состоящая из следующих элементов:
- микропроцессорная технология ограничения нагрузки
 - датчик ограничения высоты подъема крюковых скоб
 - датчик ограничения при запрокидывании стрелы
 - датчик слежения за углами поворота
 - световая и звуковая сигнализация
 - контроль за состоянием всех рабочих органов и подвижных частей автокрана
 - информирование оператора о неполадках при помощи звуковых сигналов, цифровых сообщений на дисплее, а также пиктограмм на приборной панели
 - датчик ограничения работы крана при опасном сближении с высоковольтными проводами
 - предотвращение дефектации при работе в стесненных и труднодоступных условиях
 
Способность передвигаться по бездорожье с грузом свыше 50 тонн. В отдельных случаях допускается нагрузка до 80 тонн – при подключении дополнительных аксессуаров, которые усиливают конструкцию. Тем самым, повышается производительность труда. Кроме того, кран адаптирован к работе в определенных температурных зонах, начиная от минус 40 и заканчивая +60 градусами
Двигатель оснащен предпусковым подогревом, который обеспечивает плавный и бесперебойный запуск в морозную погоду. К тому же, в комплектацию входит автономный отопитель и климатическая установка, позволяющие выставить оптимальную температуру в салоне. Кабина хорошо звукоизолирована и утеплена, имеет широкую площадь остекления в угоду лучшей обзорности. Также отметим эргономичное расположение приборов, дисплеев, рычагов и переключателей.
Самые уязвимые панели кабины покрыты специальным материалом с антикоррозионным эффектом, а также защитными свойствами против других внешних воздействий.
Средняя стоимость крановой установки ДЭК 631 на российском рынке составляет 5 миллионов рублей.
Устройство
Кран ДЭК 251 укомплектован стрелой длиною 32,5 м. Дополнительно к ней оборудованы вставки-решетки, имеющие длину 5,0 и 8,6 м. Вставки крепятся к основной стреле пальцевыми креплениями – это очень удобно при комплексной сборке. На стреле находится неподвижный гусек, за счет него становится больше и длина стрелы.

Этот гусеничный механизм настолько технологичен, что может поворачиваться на 360о – это неоспоримый плюс в сторону маневренности и комфортности работы в сжатых условиях. Кран может работать как от основного, так и от дополнительного дизельного мотора, имеющего мощность 60 кВт. Этот двигатель играет роль генератора и источника дополнительной энергии.Для этого крана не нужно специальной твердой площадки. У представленной модели оборудовано отличное шасси, работая на котором спецтехнике доступны любые преграды. Гусеничный кран устойчив на разном рельефе и непроходимом бездорожье. Он способен одновременно двигаться по труднопроходимым местам и перевозить тяжелые грузы.

Многофункциональна кабина машиниста с шумоизолирующим и теплоизоляционным слоем, понижающим вибрацию. Салон автокрана оборудован обогревателем и кондиционером, это позволяет задать нужный температурный режим при любой погоде на улице. В кабине находятся рычаги и переключатели, информационные дисплеи, позволяющие управлять подвижными механизмами.

Дополнительное оборудование
К автокрану можно добавить другое оборудование:
- дополнительный крюк;
 - грейфер (двухчелюстной);
 - грузоподъемный электромагнит.
 
Автокран оборудован специальной системой безопасности, контролирующей работу систем. Она служит для предотвращения следующих случаев:
- Кран способен ехать собственным ходом на небольшой скорости (1 км/ч). Возможна транспортировка автокрана ДЭК 251 трейлером. По РЖД перемещение этой спецтехники производится посредством применения двух грузовых платформ.перегрузки машины;
 - падения давления масла;
 - критического повышения температуры;
 - предупреждает приближение к ЛЭП;
 - координирует движение в условиях стесненного пространства.
 
Устройство стрелы
Основным стреловым оборудованием является невыдвижная решетчатая стрела. Кран оснащается стрелой 14 м, которая в зависимости от условий эксплуатации может быть удлинена до 19; 22,75; 24; 27,75 и 32,75 м за счет вставок. Каждая из стрел может оборудоваться неподвижным гуськом длиной 5 м, к которому подвешивается крюк вспомогательного подъема. Грузоподъемность на стрелах с гуськом меньше, чем без гуська, на 0,5 – 1 т. На кране предусмотрено башенно-стреловое оборудование – башня длиной 22,5 или 27,5 м и маневровые гуськи длиной 10; 15 или 20 м.

| Поз. | Обозначение | Кол. на сб. Единицу | Масса, кг | Наименование | 
| 1 | 2 | Шайба 60.02 ГОСТ 9649-78 | ||
| 2 | 251.20.00.006-03 | 2 | 3,86 | Палец | 
| 3 | 2 | Шплинт 10?80 ГОСТ 397-79 | ||
| 4 | 251.20.30.100 | 1 | 527 | Ферма гуська | 
| 5 | 4 | Болт М16-6g?30.58.019 ГОСТ 7796-70 | ||
| 6 | 4 | Шайба 16.65Г.019 ГОСТ 6402-70 | ||
| 7 | 252.02.00.001-12 | 2 | 0,493 | Шайба стопорная | 
| 8 | 252.56.01.002 | 4 | 0,3 | Втулка | 
| 9 | 2 | Масленка 1.2. Ц6 ГОСТ 19853-74 | ||
| 10 | 2514-22 | 2 | 14,66 | Блок | 
| 11 | ПК-3М 2-2-28 | 2 | 0,11 | Кольцо пружинное | 
| 12 | 252.14.00.007-03 | 2 | 0,072 | Втулка | 
| 13 | 4 | Подшипник 218 ГОСТ 8338-75 | ||
| 14 | 251.14.00.004 | 4 | 0,16 | Крышка | 
| 15 | 252.56.01.001 | 2 | 14 | Ось | 
| 16 | 252.56.01.800-01 | 2 | 8,5 | Подвеска | 
| 17 | 252.56.01.001-01 | 2 | 14 | Ось | 
Техническая характеристика крана ДЭК-251 при работе со сменным стреловым оборудованием
| Удлиненные стрелы от 19 до и 32,75 м | Основная и удлиненные стрелы с гуськом 5 м | |
| Грузоподъемность, т, при вылете | ||
| наименьшем | 14,7 – 7,0 | 5,0 – 3,8 | 
| наибольшем | 2,8 – 1,2 | 1,8 – 0,8 | 
| Вылет, м: | ||
| наименьший | 5,4 – 7,9 | 9,9 – 13,1 | 
| наибольший | 18,0 – 20,0 | 15,8 – 35,0 | 
| Высота подъема крюка, м, при вылете | ||
| наименьшем | 18,5 – 31,8 | 15,8 – 35,0 | 
| наибольшем | 9,6 – 26,7 | 5,0 – 26,8 | 
Основные грузозахватные органы – крановые подвески грузоподъемностью 25 и 5 т. В качестве сменного грузозахватного органа на стреле 14 м можно использовать грейфер вместимостью 2,5 м3. На кране применяют канаты конструкции 6х19х1 диаметром 21 мм. Длина грузового каната основного подъема – 210 м, вспомогательного подъема – 165 м; стрелового каната – 85 м






Лебедка подъёма груза
Описание лебёдки
У грузового крана ДЭК-251 имеется лебедка подъема груза – это механизм, тяговое усилие которого передается с помощью каната от приводного барабана. Главное предназначение грузовой лебёдки – решение основной задачи крана: подъём груза посредством стрелы крана.
На гусеничном стреловом кране ДЭК-251 установлено две грузовые лебёдки:
-лебёдка главного подъёма
-лебёдка вспомогательного подъёма
В кране ДЭК-251 используется барабанная лебёдка 251.11.00.000-01 с электроприводом. Лебедка подъема груза состоит более чем из двадцати деталей (сборочных узлов и единичных деталей), всего в сумме весящих около 2,7 тонн.


Правила и способы транспортировки
Рассматриваемая техника может транспортироваться по дорогам общего назначения. На малые дистанции перевозится со снятым стреловым оборудованием. Если требуется переброска на значительные расстояния, демонтируют кабину оператора, ходовые тележки, редукторы. При этом также снимают портал и часть контргруза.
Гусеничный кран ДЭК-251 перевозится на паре габаритных единицах автотранспорта и одной нестандартной трале. Также переброска указанной машины производится по железной дороге и по участкам с твердым покрытием на тележках подкатного типа. Для этой цели используются прицепы с тягачом. Допускается транспортировка модификации на автомобильном прицепе или самоходом в пределах обрабатываемого объекта.
В качестве железнодорожных перевозчиков используют пару специализированных платформ. При этом кран частично разбирают. С него демонтируют и закрепляют соответствующим образом следующие элементы:
- гусеничные телеги с редукторами;
 - барабан для кабеля;
 - раму передвижную;
 - трап;
 - кабину машиниста.
 
При этом способе стрелу не снимают, если она короче 14 метров. Этот элемент опускают до максимального вылета таким образом, чтобы головка размещалась над второй платформой, не отсоединяясь от основного механизма. Барабан, тележки и кабина увязываются растяжками из подходящей проволоки на одном вагоне.
На второй платформе размещают гусек со стойкой, вставки, оттяжки, ящик с крепежом, кабину и трап. Грузоподъемность каждой ж/д платформы должна быть не менее 60 тонн, схема погрузки – 251.4-N СБ. Чтобы предотвратить при погрузочно-разгрузочных манипуляциях деформацию кузовной части, применяют специальные траверсные элементы или трубы-распоры.

Описание и назначение
ДЭК 631 – мощный гусеничный кран, адаптированный для тяжелых условий эксплуатации. За счет этого модель можно, не опасаясь, использовать в суровых российских климатических зонах. Для раскрытия максимального потенциала эту отечественную технику применяют при монтаже зданий и металлоконструкций, а также перемещении громоздкого технического оборудования массой до 50-60 тонн. Кроме того, рассматриваемая модель пригодится в качестве замены сразу нескольким манипуляторам, которым зачастую не хватает мощности, например, при выполнении задач в крупных логистических центрах
И наконец, ДЭК 631 несет несоизмеримую важность в таких полезных и важных операциях, как растаскивание завалов, образовавшихся из-за разрушений городской инфраструктуры, в результате стихийных бедствий и глобальных катастроф
Кран гусеничный ДЭК-631 «Челябинец» грузоподъемность 63 т производства ОАО «ЧМЗ» стрела 36
Компания реализует гусеничные краны Челябинец ДЭК-631 грузоподъемность 63 т б/у после капитального ремонта состояние отличное производства ОАО «ЧМЗ», также предлагаем к ним запчасти из наличия. Дизель-электрический стреловой гусеничный кран ДЭК-631 предназначен для строительно-монтажных и погрузочно-разгрузочных работ на предприятиях и стройках, а также для перегрузки сыпучих материалов грейфером. Максимальная грузоподъемность крана— 63 г.
Наша компания реализует краны гусеничные ДЭК-251, ДЭК-321, ДЭК-361, ДЭК-401, ДЭК-631 производства (ОАО «Челябинский механический завод») с капитального ремонта по невысоким ценам, отлаженный комплекс мероприятий по контролю за качеством, позволяет выделяться нашим кранам из многих заводов, что доказывается невозвратом за все время нашей работы.
Вы можете купить кран гусеничный ДЭК-251 после капремонта, выполненного в заводских условиях. В ходе капитального ремонта востановленно 100 % моторесурса крана. Стоит отметить, что кран РДК-25 после ревизии стоит значительно дешевле, чем новое оборудование. Продажа кранов гусеничных ДЭК-251, МКГ-25БР, RDK-250, РДК-250 после проведения полного капитального ремонта на выгодных условиях! Лучшие цены на краны гусеничные представлены на нашем сайте.
Доставка техники существляем в города Челябинск, Екатеринбург, Москва, Санкт-Петербург, Уфа, Казань, Пермь, Тюмень, Омск, Сургут, Сочи, Ростов-на-Дону, Нижний Новгород, Новосибирск, Сургут, Усть-Кут, Красноярск, Самара, Владивосток, Хабаровск, Астана, Усть-Каменогорск, Тараз, Караганда, Актобе, Талдыкорган, Кызыл орда, Кустанай, Павлодар, Шымкент, Уральск, Петропавловск, Кокшетау, Актау, Атырау по России и СНГ (Казахстан, Белоруссия, Украина)
Аренда гусеничного крана. Плюсы услуги
Услуги аренды спецтехники пользуются спросом:
- у небольших компаний,
 - у крупных застройщиков.
 
Это связано с теми преимуществами, которые получает арендатор.
- Нет надобности вкладывать деньги в дорогое приобретение.
 - Она дает возможность экономить деньги на техническом обслуживании, ремонте, хранении техники, на найме специалиста для работы на ней.
 
Аренда спецтехники способствует быстрому наращиванию производственной мощности. При необходимости увеличить количество единиц рабочей техники можно в любой момент взять кран во временное пользование.
Такой подход позволяет оптимизировать расходы. Оплата будет производиться за эксплуатацию арендованной техники.
Гусеничный кран СКГ-631 63 т
Минимальный заказ – 8 машино-часов.
Оставить заявку
Стоимость ориентировочная и зависит от условий подключения к электроэнергии.
Характеристики:
| Длина, м: | 6,5 | 
| Ширина, м: | 5,11 | 
| Высота, м: | 4,3 | 
| Масса, т: | 85,3 | 
| Длина стрелы, м: | 37+29 | 
| Грузоподъемность, т: | 63 | 
Описание:
Гусеничный кран СКГ 631 классифицируется, как тяжеловесная грузоподъёмная техника широкого назначения. Он успешно применяется при монтаже крупногабаритного оборудования и строительстве промышленных объектов, возведении электростанций и прочих объектов, требующих перемещения крупногабаритных, тяжелых грузов.
Наличие гусеничного хода у крана дает определенные преимущества:
- самостоятельное перемещение через сложные поверхности почвы;
 - возможность работы на площадках без предварительной подготовки, поскольку техника на гусеничном ходу создает сравнительно небольшое давление.
 

Работа крана обеспечивается электрическим многомоторным приводом. Он работает на трёхфазном переменном токе с напряжением 380 В. Источником питания может быть дизель-электрическая станция или внешняя сеть. При этом дизель-электрическая станция располагается в отдельном блоке и входит в комплектацию крана по отдельному заказу клиента.
Высокая производительность и универсальность, которой отличается кран монтажный гусеничный СКГ 631, обеспечивается его конструктивными особенностями – возможностью комплектации двумя комплектами башенно-стрелового оборудования. Первый вариант – это использование основной для крана данного типа стрелы длиной 16,74 м. Стрелу можно удлинить с помощью специальных дополнительных секций до 20,84 м и 35,94 м. Максимальная высота подъёма груза при такой комплектации составит 15 м, а грузоподъёмность – 63 тонны. Если заказчику необходим кран с грузоподъёмностью до 100 тонн, то он также может воспользоваться арендой крана СКГ 631 в .
Для того чтобы увеличить грузоподъёмность до 100 тонн, используется маневровый гусек. Длина его составляет 29,04 метра, но она может быть уменьшена до 16,42 м с помощью специальных сменных ставок. Для перемещения грузов весом до 100 тонн длина стрелы не должна превышать 12 м, а возможная высота подъёма – до 10,7 м. В зависимости от типа выполняемых работ определяется комплектация башенно-стрелового оборудования, вес крюка крана СКГ 631 и некоторые другие параметры.
СКГ-631 представляет собой тяжеловесную грузоподъёмную технику, поэтому аренда гусеничного крана этой модели необходима при строительстве электростанций, крупных производственных объектов, для монтажа габаритного оборудования. Его минимальная грузоподъёмность составляет 63 тонны, однако она может быть увеличена до 100 тонн за счёт уменьшения высоты поднятия грузов.
Одним из важнейших преимуществ аренды крана 100 тонн СКГ-631 является возможность самостоятельного перемещения, поворота на гусеничном ходовом устройстве. Эта особенность делает его манёвренным, удобным для работы на объектах большой площади, по которой он может перемещаться. Кроме того, перед арендой гусеничного крана площадку можно предварительно не подготавливать, ввиду того что эта машина создаёт минимальное давление на грунт.
В зависимости от того с какой целью производится аренда техники краны СКГ-631 могут поставляться на объекты в двух комплектациях башенно-стрелового оборудования. Основной для данной машины является стрела длиной 15,74 м, обеспечивающая подъём грузов на высоту 15,1 м. Благодаря наличию сменных секций стрелу можно удлинить от 20,84 до 35,94 м. Такую комплектацию стоит выбирать, когда требуется аренда крана 60 тонн, так как максимальная возможная масса груза в этом случае составляет 63 тонны.
Длина стрелы с грузоподъёмностью 100 тонн составляет 12 м. При её использовании груз можно поднять на высоту 10,7 м. Если необходима аренда крана 100 тонн, его производительность можно увеличить за счёт применения маневрового гуська (29,04 м). При помощи сменных вставок длина этого элемента сокращается до 16,42 м.
Функционирует СКГ-631 на многомоторном приводе, который подпитывается от собственной дизельно-электрической установки или стационарной трёхфазной сети 380 В.
Воспользовавшись услугами аренды крана в нашей компании, можно получить модель СКГ-631 любой комплектации для осуществления строительных, разгрузочно-погрузочных работ любой сложности.
Гусеничный кран СКГ-631

Гусеничный кран СКГ-631 широко применяется для любых строительно-монтажных и погрузочно-разгрузочных работ. Кран обладает грузоподъемностью до 63 тонн или (в специальном исполнении до 100 тонн) в зависимости от установленного стрелового оборудования и массы противовеса.
Кран имеет электрический многомоторный привод, работающий на переменном трехфазном токе напряжением 380 Вольт, и может получать питание от внешней сети или от дизель-электрической станции, расположенной в отдельном блоке и поставляемой на объект по необходимости.
На кране предусмотрено башенно-стреловое оборудование, состоящее из стрелы (башни) и маневрового гуська. С помощью сменных секций стрела может быть удлинена до 22,5; 27,7; 32,6 и 37,7 метра. Стрелы крана могут оборудоваться установочным гуськом длиной 7,60 метра для вспомогательного подъема. Маневровый гусек длиной 29,2 метра. С помощью сменных секций (вставок) его длина может быть уменьшена до 24,0; 19,0; 16,6 метра.
| Технические характеристики крана СКГ-631 | |
| Максимальная грузоподъемность, т | 63 | 
| Вылет при наибольшей грузоподъемности, м | 6,4 | 
| Длина основной стрелы, м | 17,6 | 
| Максимальная длина стрелы, м | 37,7 | 
| Максимальная высота башни, м | 37,7 | 
| Длина вставок для удлинения стрелы, м | 10; 10 | 
| Длина гуська для стрелы, м | 7,6 | 
| Длина гуська для башни, м | 16,6; 19,0; 24,0; 29,2 | 
| Максимальная высота подъема груза, м | 63,1 | 
| Частота вращения поворотной платформы, об /мин | 0,3 0,1 | 
| Скорость наматывания каната основного подъема на барабан, м/мин | 0,29 – 4,7 | 
| Скорость передвижения, м/мин | 12,5±0,5 | 
| Конструктивная масса крана (с основной стрелой), т | 86 | 
| Среднее давление на грунт без груза, кг/см | 1,00 | 
| Кратность запасовки каната при наибольшей грузоподъемности | 8 | 
| Кратность запасовки каната при наибольшей высоте подъема груза | 2 | 
Таблица грузоподъёмности и высоты подъёма крюка гусеничного крана СКГ-631 в башенно-стреловом исполнении.
| Стрела длиной 27,7 метра. | |||||||||||
| Масса противовесов 14,0 тонн и 2 штуки по 8,5 тонн. | |||||||||||
| Гусёк L=16,6 метра. | Гусёк L=19,0 метра. | Гусёк L=24,0 метра. | Гусёк L=29,2 метра. | ||||||||
| Вылет, м. | Грузоподъ- ёмность, т. | Высота подъёма крюка, м. | Вылет, м. | Грузоподъ- ёмность, т. | Высота подъёма крюка, м. | Вылет, м. | Грузоподъ- ёмность, т. | Высота подъёма крюка, м. | Вылет, м. | Грузоподъ- ёмность, т. | Высота подъёма крюка, м. | 
| 10 | 28 | 41,8 | 11,3 | 23 | 43,7 | 13,3 | 18 | 48,5 | 15,5 | 14 | 53 | 
| 11 | 24,4 | 41,3 | 11,5 | 23 | 43,6 | 13,6 | 18 | 48,4 | 17 | 12,5 | 52,2 | 
| 12 | 21,6 | 40,6 | 12 | 21,8 | 43,3 | 14 | 17,4 | 48,2 | 18 | 11,5 | 51,5 | 
| 13 | 19,5 | 39,9 | 13 | 19,4 | 42,7 | 15 | 15,6 | 47,6 | 19 | 10,6 | 50,9 | 
| 14 | 17,5 | 39 | 14 | 17,4 | 42 | 16 | 14,2 | 46,9 | 20 | 9,9 | 50,2 | 
| 15 | 15,8 | 38 | 15 | 15,6 | 41,2 | 17 | 13,1 | 46,2 | 21 | 9,2 | 49,4 | 
| 16 | 14,5 | 36,8 | 16 | 14,2 | 40,3 | 18 | 12,1 | 45,5 | 22 | 8,6 | 48,6 | 
| 17 | 13,4 | 35,4 | 17 | 13 | 39,2 | 19 | 11,2 | 44,5 | 23 | 8 | 47,7 | 
| 18,5 | 12 | 32 | 18 | 12 | 38 | 20 | 10,3 | 43,6 | 24 | 7,5 | 46,6 | 
| 19 | 11,2 | 36,5 | 21 | 9,5 | 42,5 | 25 | 7 | 45,5 | |||
| 20 | 10,5 | 34,5 | 22 | 8,8 | 41,1 | 26 | 6,6 | 44,3 | |||
| 21 | 9,7 | 37,1 | 23 | 8,3 | 39,6 | 27 | 6,3 | 42,8 | |||
| 24 | 7,8 | 37,9 | 28 | 5,9 | 41,2 | ||||||
| 25,5 | 7,1 | 34,7 | 29 | 5,5 | 39,3 | ||||||
| 30 | 5,2 | 37 | |||||||||
| 31 | 4,8 | 34 | |||||||||
| Стрела длиной 32,6 метра. | |||||||||||
| Масса противовесов 14,0 тонн и 2 штуки по 8,5 тонн. | |||||||||||
| Гусёк L=16,6 метра. | Гусёк L=19,0 метра. | Гусёк L=24,0 метра. | Гусёк L=29,2 метра. | ||||||||
| Вылет, м. | Грузоподъ- ёмность, т. | Высота подъёма крюка, м. | Вылет, м. | Грузоподъ- ёмность, т. | Высота подъёма крюка, м. | Вылет, м. | Грузоподъ- ёмность, т. | Высота подъёма крюка, м. | Вылет, м. | Грузоподъ- ёмность, т. | Высота подъёма крюка, м. | 
| 10,5 | 22 | 46,5 | 11,5 | 20 | 48,5 | 13,5 | 17,5 | 53,1 | 15,8 | 13 | 57,6 | 
| 11,5 | 22 | 45,9 | 12,8 | 20 | 47,8 | 13,8 | 17,5 | 53 | 16,5 | 13 | 57,2 | 
| 13 | 18,8 | 44,9 | 14 | 17,4 | 46,9 | 15 | 15,5 | 52,3 | 17 | 12,5 | 57 | 
| 14 | 17 | 44,1 | 15 | 15,6 | 46,2 | 16 | 14,1 | 51,7 | 18 | 11,5 | 56,4 | 
| 15 | 15,5 | 43,1 | 16 | 14,3 | 45,3 | 17 | 13 | 50,9 | 19 | 10,6 | 55,7 | 
| 16 | 14,3 | 41,9 | 17 | 13 | 44,2 | 18 | 12 | 50,1 | 20 | 9,9 | 55 | 
| 17 | 13,2 | 40,5 | 18 | 12 | 40,3 | 19 | 11,1 | 49,3 | 21 | 9,2 | 54,3 | 
| 18 | 12,2 | 38,6 | 19 | 11,3 | 39,2 | 20 | 10,2 | 48,4 | 22 | 8,6 | 53,4 | 
| 18,8 | 11,6 | 36,4 | 20 | 10,5 | 38 | 21 | 9,5 | 47,3 | 23 | 8 | 52,5 | 
| 21 | 9,8 | 36,5 | 22 | 8,8 | 46,1 | 24 | 7,5 | 51,5 | |||
| 34,5 | 23 | 8,2 | 44,8 | 25 | 7 | 50,3 | |||||
| 37,1 | 24 | 7,7 | 43,2 | 26 | 6,6 | 49,1 | |||||
| 25 | 7,3 | 41,2 | 27 | 6,2 | 47,7 | ||||||
| 26 | 7 | 38,6 | 28 | 5,9 | 46 | ||||||
| 29 | 5,5 | 44,1 | |||||||||
| 30 | 5,1 | 41,9 | |||||||||
| 31 | 4,8 | 38,8 | |||||||||
| Стрела длиной 37,7 метра. | |||||||||||
| Масса противовесов 14,0 тонн и 2 штуки по 8,5 тонн. | |||||||||||
| Гусёк L=16,6 метра. | Гусёк L=19,0 метра. | Гусёк L=24,0 метра. | Гусёк L=29,2 метра. | ||||||||
| Вылет, м. | Грузоподъ- ёмность, т. | Высота подъёма крюка, м. | Вылет, м. | Грузоподъ- ёмность, т. | Высота подъёма крюка, м. | Вылет, м. | Грузоподъ- ёмность, т. | Высота подъёма крюка, м. | Вылет, м. | Грузоподъ- ёмность, т. | Высота подъёма крюка, м. | 
| 10,7 | 22 | 51,6 | 11,5 | 20 | 53,8 | 14 | 15,5 | 58,2 | 16 | 12 | 63,1 | 
| 11 | 22 | 51,5 | 12 | 20 | 53,6 | 14,5 | 15,5 | 58,1 | 17,4 | 12 | 62,3 | 
| 12 | 19,5 | 50,9 | 13 | 18,2 | 53 | 16 | 13,7 | 57,2 | 19 | 10,6 | 61,3 | 
| 13 | 17,6 | 50,3 | 14 | 16,4 | 52,4 | 17 | 12,5 | 56,6 | 20 | 9,9 | 60,6 | 
| 14 | 15,8 | 49,4 | 15 | 14,8 | 51,6 | 18 | 11,5 | 55,8 | 21 | 9,2 | 59,9 | 
| 15 | 14,3 | 48,4 | 16 | 13,5 | 50,7 | 19 | 10,6 | 55 | 22 | 8,6 | 59 | 
| 16 | 13,1 | 47,3 | 17 | 12,3 | 49,7 | 20 | 9,7 | 54 | 23 | 8 | 58,2 | 
| 17 | 12,1 | 45,6 | 18 | 11,4 | 48,6 | 21 | 9 | 53 | 24 | 7,5 | 57,2 | 
| 18 | 11,3 | 44,2 | 19 | 10,6 | 47,2 | 22 | 8,4 | 51,8 | 25 | 7 | 56 | 
| 19 | 10,6 | 41,6 | 20 | 9,7 | 45,4 | 23 | 7,8 | 50,4 | 26 | 6,6 | 54,9 | 
| 21 | 9 | 43 | 24 | 7,3 | 48,8 | 27 | 6,2 | 53,5 | |||
| 25 | 6,8 | 46,8 | 28 | 5,9 | 52 | ||||||
| 26 | 6,4 | 44,4 | 29 | 5,5 | 50,2 | ||||||
| 30 | 5,2 | 48 | |||||||||
| 31 | 4,8 | 45,2 | 
СКГ-40/63
Кран монтажный гусеничный СКГ-40/63 отличается грузоподъемностью 40 и 63 т. Машина имеет 2 дополнительных варианта со стрелой длиной 11,6 м грузоподъемностью 63 т и со стрелой 15 м, снабженной гуськом 10,5 м и контргрузом 6,1 + 3,5 м с грузоподъемностью 15 т.

Скорость подъема груза весом 63 т составляет 0,4-3,2 м/мин, весом 15 т — 1,5-11,2 м/мин. Устройство может иметь башенно-стреловой вариант с контргрузом 6,1 + 3,5 т.
Технические характеристики и параметры:
- Грузоподъемность — 40 и 63 т.
 - Высота подъема при большой скорости равна 15 и 11,2 м.
 - Скорость передвижения равна 0,7-5,6 м/мин и 0,4-3,2 м/мин.
 - Вес с основной стрелой — 58,5 и 59 т.
 - Частота вращения — 0,3 об/мин.
 - Размеры в рабочем положении: ширина гусениц — 4100 мм; ширина поворотной платформы — 3230 мм; ширина цепи — 800 мм.
 - Длина тележки равна 4930 мм.
 - Высота самого крана — 4300 мм.
 - Радиус, описываемый хвостовой частью, — 4000 мм.
 - Максимальный грузовой момент — 184 тм.
 - Дорожный просвет — 500 мм.
 
Двигатель 64H-12/14 имеет мощность 120 л.с. Машина может работать под уклоном, не превышающим 15º.
































